로봇 시대에는 어떤 배터리가 어울릴까?
2026-02-03
전고체 배터리, 꺼진 불씨는 ‘로봇’에서 다시 붙을까
2023년에 「1%를 읽는 힘」에서 전고체 배터리 이야기를 꺼낸 뒤, 시장의 관심은 한동안 식은 듯 보였다. 하지만 최근 흐름을 보면 “전기차 중심의 전고체”라는 단일 시나리오가 아니라, 휴머노이드 로봇이라는 새로운 수요처가 등장하면서 판이 다시 정리되는 느낌이 든다.
앞부분은 전고체 배터리의 기본 개념 복습이지만, 중간중간 최근의 변화(로드맵/경쟁구도/수요처 전환)를 같이 엮어 업데이트해본다.

1) 전고체 배터리의 핵심: “액체를 고체로 바꾼다”는 단순함
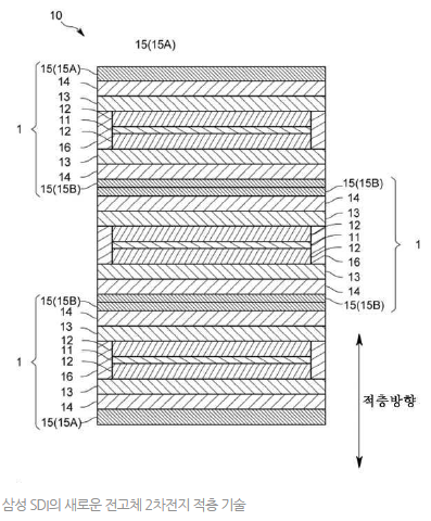
전고체(All-Solid-State) 배터리는 말 그대로 배터리 내부의 전해질을 ‘액체’가 아닌 ‘고체’로 바꾸는 개념이다.
현재 주력인 리튬이온(삼원계 등) 배터리는 대체로 다음 네 가지로 구성된다.
양극
음극
분리막
전해질(대부분 액체)

기존 배터리는 양극과 음극이 직접 닿으면 사고로 이어질 수 있어 분리막이 필요하고, 액체 전해질은 온도 변화나 충격에 의해 누액·손상이 생길 여지가 있다. 그래서 셀을 모듈로 감싸고, 모듈을 다시 팩으로 감싸는 안전 설계가 커진다.
반면 전해질이 고체가 되면,
전해질 자체가 분리막 역할을 일부 담당할 수 있고
구조가 더 단단해져 누액 기반 리스크가 줄어들며
안전 설계를 “상대적으로” 간소화할 여지가 생긴다
이게 전고체가 단순히 ‘좋은 배터리’가 아니라, 배터리 팩 구조 전체를 다시 설계하게 만드는 기술이라고 보는 이유다.

2) 왜 “용량이 2배” 같은 말이 나오는가
전고체 배터리의 기대 포인트는 단순히 재료가 바뀌는 게 아니라, 패키징(분리막/모듈/팩 등 안전장치)이 차지하던 공간을 줄여 같은 면적에 더 많은 활물질(양극/음극)을 넣을 수 있다는 점이다.
요약하면 이런 논리다.
기존 배터리: 안전장치 비중이 크다
전고체: 안전장치 축소 가능성이 생긴다
결과: 같은 면적/부피에서 활물질 비중이 커져 용량이 늘어난다
여기에 음극재로 리튬금속까지 적용 가능해지면, 용량 확장 여지가 더 커진다(물론 이 구간은 기술 난이도가 높다).

3) 전고체의 갈림길: 산화물계 vs 황화물계
전고체는 크게 산화물계와 황화물계로 나뉘는데, 여기서 시장의 포커스가 갈린다.
산화물계: 소형 전자기기(예: 무선 이어폰) 쪽에 상대적으로 먼저 적용되기 쉽다는 평가
황화물계: 더 큰 용량을 노릴 수 있어, 전기차 같은 대형 배터리로 가려면 사실상 이 축이 중요해진다는 관점
즉 “전고체가 뜬다”가 아니라, 어떤 계열이 어떤 시장을 먼저 뚫느냐가 핵심이 된다.
4) 기술 난제의 1차 해법: “빈틈 없이 채우는 공정”과 적층
전고체의 대표 난제 중 하나는, 고체 전해질을 빈틈 없이 채우는 문제다. 액체는 주입이 쉽지만, 고체 분말은 공극(빈 공간)이 생기기 쉽다. 이 공극은 성능과 안정성 모두에 악영향을 준다.
그래서 전고체는 ‘재료’만큼이나 공정 기술이 중요해진다.
이 지점에서 “정밀 적층/코팅 기술” 같은 반도체 공정 노하우가 언급되는 이유가 생긴다. 단순한 비유가 아니라, 고체층을 안정적으로 형성하는 방식이 결국 제조 경쟁력이 되기 때문이다.
5) 로드맵 경쟁: 2027~2028의 의미
로드맵은 흔히 “계획은 계획”으로 취급되지만, 전고체는 계획이 곧 투자·공급망·파일럿 운영과 연결되기 때문에 무시하기 어렵다.
특정 기업은 파일럿 라인 구축과 샘플 생산을 진행
로드맵상 양산 목표 시점을 2027년 전후로 제시
경쟁사(일본/중국 등)도 2027~2028 구간을 전후해 상용화를 언급
여기서 중요한 건 “누가 먼저”가 아니라, 누가 ‘양산 품질’과 ‘원가’를 같이 잡느냐다.
6) 마지막 숙제는 가격일 가능성이 높다
전고체가 기술적으로 유망하다는 논의는 오래됐다. 문제는 결국 원가다.
황화물계에서 핵심 소재(예: 황화리튬 Li₂S)는 비싸다
추가적인 코팅/활물질 처리 등 공정도 원가를 밀어 올릴 수 있다
결과적으로 “성능은 좋아도 가격이 2배 수준이면 시장이 버티냐”가 남는다
즉, 전고체의 본질은 “기술 가능성”이 아니라 경제성으로 넘어가고 있다.
7) 그런데 시장이 바뀌었다: 전기차가 아니라 ‘휴머노이드 로봇’
여기서 재미있는 변화가 하나 생긴다.
전고체는 원래 전기차 중심으로 기대를 받았는데, 최근엔 휴머노이드 로봇이 새로운 수요처로 떠오를 가능성이 커졌다.
휴머노이드는 구조상 배터리 탑재 공간이 제한되고, 소형화·경량화·고밀도화가 매우 중요하다.
또 하나는 “가격보다 작동시간”의 우선순위가 달라질 수 있다는 점이다.
서빙 로봇(바퀴형)은 정해진 루틴, 상대적으로 낮은 에너지 소모
공장/가정 투입형 휴머노이드는 연속 동작, 에너지 소모가 크다
배터리 교체로 운영은 가능하지만, 결국 다운타임(멈추는 시간)이 비용으로 돌아온다
로봇은 사람과 달리 “잠깐 쉬었다가 다시”가 곧바로 생산성 저하로 이어진다.
그래서 가격이 좀 비싸도, 작동시간이 2배가 되면 경제성이 역전될 수 있다는 논리가 생긴다.
전기차는 배터리 가격이 차량 원가에 크게 영향을 주고, 가격 민감도가 높다. 반면 로봇은 “작동시간/충전·교체 운영/생산성”이 수익모델과 직접 연결되니, 전고체의 높은 가격이 상대적으로 덜 치명적일 수 있다.

결론: 전고체의 불씨는 ‘로봇’에서 다시 살아날 수 있다
전고체 배터리는 한동안 관심 밖으로 밀려난 것처럼 보였지만, 전기차 단일 목표가 아니라 휴머노이드 로봇이라는 새로운 시장 변수가 등장하면서 다시 볼 가치가 생겼다.
정리하면 이렇게 본다.
기술은 “가능성”에서 “공정·양산”의 단계로 넘어가는 중
승부는 결국 가격(원가)에서 갈릴 확률이 높음
그런데 로봇 시장은 가격보다 작동시간/운영 효율이 더 중요해질 수 있음
그래서 전고체의 경제성이 로봇에서 먼저 증명될 가능성이 있다
꺼진 불도 다시 볼 필요가 있다. 전고체는 ‘전기차 배터리’가 아니라, 로봇 배터리로 먼저 대중화될 수 있다는 시나리오가 현실적인 떡밥으로 떠오르고 있다.
블로그 글
첫 댓글을 남겨보세요.